找回密码
 立即注册
澳门威尼斯人
U8
U18
海燕招商
A
蓝盾
e世博
islot.
申博亚洲
澳门银河
B
开云
腾博会
德信
C级广告商
吉祥坊
华体会
查看: 54257|回复: 16

[足球推荐] 2025年5月7日03:00欧冠 国际米兰VS巴塞罗那

 火.. [复制链接]

229

主题

3470

回帖

465

金币

银牌会员

积分
10770

老会员交易勋章

发表于 2025-5-6 16:43 | 显示全部楼层 |阅读模式

马上注册,结交更多好友,享用更多功能,让你轻松玩转社区。

您需要 登录 才可以下载或查看,没有账号?立即注册

×
推荐:国际米兰+0.25
北京时间2025570300将迎来欧冠半决赛第二回合的赛事,国际米兰主场迎战巴塞罗那,在上周首回合的比赛中,巴塞罗那主场被国际米兰3-3逼平,本场客场挑战国际米兰还是比较有压力的。
1-1.png
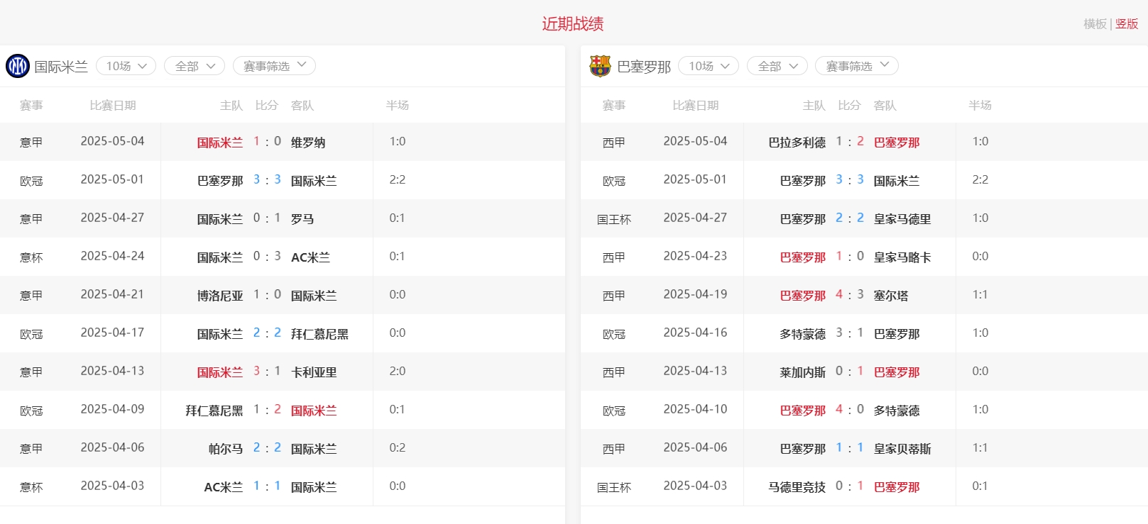
战绩分析:
两队历史上近十次的交手,国际米兰面对巴塞罗那取得了235负的的战绩并没有什么优势,上一场首回合的交手,国际米兰3-3战平了巴塞罗那,客场也算是全身而退。国际米兰近十场比赛取得了343负的战绩也算是可以,上周末也是拿到了联赛近几轮的一场胜利。巴塞罗那近十场取得了631负的战绩,状态火热,但是本场客场还是严谨对待。
1-2.png 1-3.png
盘口分析:
本场比赛开出国际米兰主场受让0.25,单纯从实力上看国际米兰还是实力稍逊,不过客场已经完成任务,主场还是需要在拼一把,看好不败。
推荐:国际米兰+0.25
. N9 S9 \- N8 r8 X: _, D8 z
fakename.png

( Q* F$ i# `0 L% g  p8 q6 B6 m
回复

使用道具 举报

50

主题

8989

回帖

4159

金币

金牌会员

积分
28697

老会员

发表于 2025-5-6 16:57 | 显示全部楼层
我也是看好国米的,毕竟国米也不弱,至少是不会输球的
回复 支持 反对

使用道具 举报

46

主题

1万

回帖

1372

金币

金牌会员

积分
24942

老会员

发表于 2025-5-6 18:13 | 显示全部楼层
这一场的国米还是很不错的,就看这个到底是不是能够拿下来的。
回复 支持 反对

使用道具 举报

3

主题

2657

回帖

1191

金币

铜牌用户

积分
8564

老会员

发表于 2025-5-6 19:30 | 显示全部楼层
巴萨客场没以前那么稳了,国米这场只要防住前场失误,不败还是挺有希望的
回复 支持 反对

使用道具 举报

480

主题

3万

回帖

4665

金币

铂金用户

积分
84327

老会员美女勋章勤奋勋章交易勋章

发表于 2025-5-6 19:37 | 显示全部楼层
这场还是看好巴塞罗那了,不过也要看看结果了
回复 支持 反对

使用道具 举报

182

主题

6558

回帖

1074

金币

银牌会员

积分
16087

老会员

发表于 2025-5-6 20:39 | 显示全部楼层
巴塞罗那应该是不败的,可以尝试下,我觉得没错,支持你
回复 支持 反对

使用道具 举报

3698

主题

7万

回帖

5460

金币

海燕硕士

积分
218705

万时之王老会员勤奋勋章交易勋章

发表于 2025-5-7 07:38 | 显示全部楼层
国际米兰受让盘口打出来了,这一场比赛两队就是一个平局结果了
回复 支持 反对

使用道具 举报

3698

主题

7万

回帖

5460

金币

海燕硕士

积分
218705

万时之王老会员勤奋勋章交易勋章

发表于 2025-5-7 07:38 | 显示全部楼层
夷陵老祖 发表于 2025-5-6 20:396 \; o; f* i4 I& L# i
巴塞罗那应该是不败的,可以尝试下,我觉得没错,支持你
: Q, d% C1 {2 W* ]$ o! w1 M9 j
猜对了盘口也是值得高兴的结果了,楼主真的是太厉害了吧
回复 支持 反对

使用道具 举报

36

主题

1万

回帖

3789

金币

千足金牌会员

积分
50064

老会员美女勋章光影行者

发表于 2025-5-7 07:45 | 显示全部楼层
最后是平手的结果了,楼主的受让盘口也是对了一半,还不错
回复 支持 反对

使用道具 举报

36

主题

1万

回帖

3789

金币

千足金牌会员

积分
50064

老会员美女勋章光影行者

发表于 2025-5-7 07:46 | 显示全部楼层
dollar 发表于 2025-5-7 07:387 i- ]5 P! |  f4 E
国际米兰受让盘口打出来了,这一场比赛两队就是一个平局结果了
7 g, h, F6 G5 O) f% C. U
是的,最后是一个平局的结果,受让盘口也是对了一半的
回复 支持 反对

使用道具 举报

1410

主题

5万

回帖

2163

金币

钻石用户

积分
142705

万时之王老会员勤奋勋章交易勋章

发表于 2025-5-7 10:53 | 显示全部楼层
国际米兰3-3巴塞罗那楼主的推荐也是稳稳的收米了 祝贺一下楼主的啊
回复 支持 反对

使用道具 举报

1410

主题

5万

回帖

2163

金币

钻石用户

积分
142705

万时之王老会员勤奋勋章交易勋章

发表于 2025-5-7 10:54 | 显示全部楼层
寒潭月影 发表于 2025-5-6 16:57" u# W8 L4 ~! b3 }/ ?$ @2 i! D! J
我也是看好国米的,毕竟国米也不弱,至少是不会输球的
# S/ l0 @! k) C0 H
这次我是和楼主同路的 也是看好国米是可以保持不败的啊
回复 支持 反对

使用道具 举报

1410

主题

5万

回帖

2163

金币

钻石用户

积分
142705

万时之王老会员勤奋勋章交易勋章

发表于 2025-5-7 10:55 | 显示全部楼层
dollar 发表于 2025-5-7 07:38
% `9 R& \8 L% r/ j( [国际米兰受让盘口打出来了,这一场比赛两队就是一个平局结果了

- A) ]- N3 U% K% [3 A国际米兰的实力杠杠的啊 楼主这次去主队是非常的明智啊
回复 支持 反对

使用道具 举报

1410

主题

5万

回帖

2163

金币

钻石用户

积分
142705

万时之王老会员勤奋勋章交易勋章

发表于 2025-5-7 10:55 | 显示全部楼层
云水谣 发表于 2025-5-7 07:45
3 p* j/ V7 b! H0 _- R9 ~最后是平手的结果了,楼主的受让盘口也是对了一半,还不错
% F# f  U0 O/ H3 b: t
楼主的推荐也是非常的犀利啊 希望你能够积极的下注啊
回复 支持 反对

使用道具 举报

2621

主题

5万

回帖

6923

金币

钻石用户

积分
177962

万时之王老会员精华勋章勤奋勋章交易勋章

发表于 2025-5-8 02:49 来自手机 | 显示全部楼层
allin 发表于 2025-5-7 10:53
; A& w* M2 w2 `" y' Y6 v  Y* _国际米兰3-3巴塞罗那楼主的推荐也是稳稳的收米了 祝贺一下楼主的啊

6 O) s: ^' M6 Y) A( ~这场球比赛结果3:3,平局的结果,楼主推荐主队下盘受让平半球的盘口收米了
回复 支持 反对

使用道具 举报

您需要登录后才可以回帖 登录 | 立即注册

本版积分规则

广告合作|福利汇|论坛简介|钱包教程|手机版|小黑屋|Archiver|海燕论坛

快速回复 返回顶部 返回列表